最近, 湖北小米长江产业基金合伙企业(有限合伙)(以下简称“小米长江产业基金”)再投资了一家半导体芯片公司——宁波隔空智能科技有限公司(以下简称“隔空智能”)。

Source:企查查
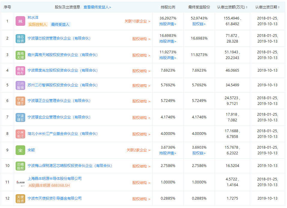
企查查信息显示,隔空智能已经完成工商信息变更,其中小米长江产业基金作为新晋股东持股4%,而这次与小米产业基金共同投资的还有一家科创板上市公司——上海晶丰明源半导体股份有限公司(以下简称“晶丰明源”)。
根据调查,隔空智能是一家集成电路设计公司,专注于高性能无线射频、微波、毫米波技术、隔空触控技术及相关传感器芯片产品的研发,具备射频/模拟IC、低功耗SoC、算法等关键技术研发能力,以及多达数亿颗射频SoC芯片的量产经验,产品可广泛应用于物联网、5G通信、智能家居、智慧城市等领域。
官网资料显示,隔空智能曾先后获得真格基金、IC咖啡基金、宁波天使投资引导基金、君度资本和三行资本等知名机构的投资。并且已经与多家半导体行业知名公司达成了合作,如中芯国际、甬矽电子(宁波)股份有限公司、厦门市三安集成电路有限公司、ARM、晶丰明源、恒玄科技等均为该公司的合作伙伴。















